פטנט חדש: כריות אוויר לסמארטפון
מנכ"ל אמזון יוצא בהברקה חדשה להגנה על הסמארטפון מנפילות: מיני-כריות אוויר שיתנפחו לפני שהבייבי שלכם יפגע בקרקע

ריק
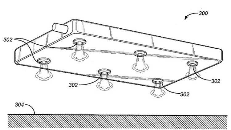
כנראה שלמנכ"ל אמזון, ג'ף בזוס, יש זמן פנוי בין העבודה על הקינדל הבא והשקת אפליקציית הקינדל בענן לאייפד. אחרת, אין דרך להסביר מדוע הוא חתום באופן אישי על פטנט חדש ומסובך ל'מערכת למניעת נזק" לסמארטפון ולטאבלט בעת נפילה. הפטנט מציג הגנה למכשיר מפני נפילות באמצעות כריות אוויר, אשר נפתחות כאשר חיישני התנועה של המכשיר מבחינות בתנועה חדה כלפי מטה, ומורים לכריות האוויר הקטנות (שש במספר בכל צד) להפתח לפני שהמכשיר ייגע בקרקע.
מערכת כריות אוויר שכזו מצריכה חלל פנימי במכשיר, בו יוכלו הכריות להסתתר לפני הניפוח - מה שאומר שהמכשיר יצטרך להיות עבה יותר מהרגיל. הבעיות ההנדסיות שיכולות לעלות מן העניין הן דחיסת כרית האוויר מחדש אל תוך גוף המכשיר - או המארז. בנוסף, שילוב כריות האוויר בחלק הקדמי של המכשיר יקטין את גודל מסך המגע.
הפטנט, שעדיין ממתין לאישור ממשרד הפטנטים האמריקני, מכיל בנוסף לכריות האוויר אפשרות להגנה על המכשיר בזרמי מים בלחץ, ועוד אפשרות המבוססת על קפיצים, משל הייתם חושחש הבלש. חשוב לזכור שהרבה פטנטים מעניינים נרשמים כל חודש, ולא מגיעים כלל לשלב הייצור. רישום פטנט יכול להוות מקור רווח גם אם הוא סתם שוכב במגירה: ברגע שחברה בעלת גב כלכלי מתאים מפתחת את המוצר, יכול בעל הפטנט לקפוץ ולתבוע אותה - ולזכות במשפט (ע"ע מלחמות הפטנטים של אפל).
שוק הסמארטפונים הולך ומתרחב והמכשירים נהיים מהירים, דקים ונוחים יותר. עם זאת, עדיין לא נמצא פיתרון קסם לרגישות המסכים הגדולים שלהם בפני נפילות. מוטורולה השיקה השנה את ה-DEFY, סמארטפון אנדרואיד מוקשח ועמיד במיוחד (שנמכר בישראל). החודש חשפה סמסונג את הגלקסי XCOVER, מכשיר מקביל וגם חברות נוספות מפתחות מכשירים עמידים.
לאחראי על האינטרנט כבר עשיתם לייק?


