המקלדת הבאה של אפל תעשה עליכם "פו"

פטנט חדש שהגישה החברה כולל מערכת נשיפה ושאיפה של אוויר במקלדת להגברת תגובה תחושתית

אדם מקליד על מקלדת מחשב
אדם מקליד על מקלדת מחשב | צילום: GettyImages

חברת אפל, יצרנית האייפון ומחשבי המק, פרסמה ביום ה' האחרון אחת מאינספור בקשות רישום הפטנטים שמגישה החברה, הפעם לטכנולוגיית תגובה חושית למקלדות.

 

בקשת רישום הפטנט, 20110107958 במספרה, מנסה לטפל בתגובה הפיזית המוגבלת של מקשי מקלדות דקות. ככל שהמקלדות כיום הופכות דקות יותר, תחושת ה-"קליק" בעת הקשה הולכת ונעלמת, מה שהופך את ההקלדה לנוחה הרבה פחות.

 

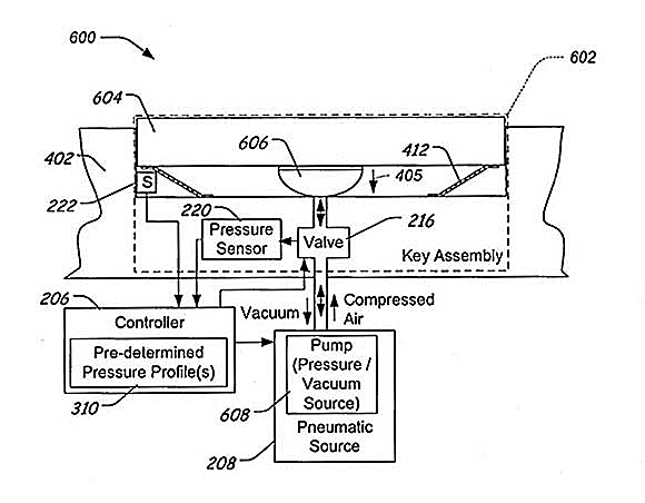
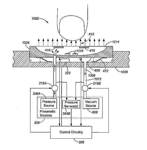
הפטנט החדש כולל מערכת מתוחכמת של גלאי מרחק ולחץ אויר. כשהחיישן מזהה שאצבע המשתמש מתקרבת למקש, משוחרר פרץ אויר לכיוון האצבע. אפשרות נוספות היא שימוש בלחץ אויר להגברת התנגדות הכפתורים ללחיצה לצורך יצירת תגובת מגע ממשית יותר.

 

מקלדת נושפת - פטנט של אפל
מקלדת נושפת - פטנט של אפל | צילום: משרד הפטנטים האמריקני

המערכת המעניינת תוכל להשתמש בצירוף של יניקה ונשיפה של אוויר לשיפור תגובת המגע של המקלדת, אך קל לראות את החיסרון שלה - במקלדת דקה, אין כל-כך מקום למערך חיישני מרחק ומשאבות, פצפוניות ככל שיהיו.

 

מקלדת נושפת - פטנט של אפל
מקלדת נושפת - פטנט של אפל | צילום: משרד הפטנטים האמריקני